天眼查显示,武汉天马微电子有限公司近日取得一项名为“显示面板、制备方法及显示装置”的专利,授权公告号为CN115942819B,授权公告日为2025年10月17日,申请日为2023年2月16日。

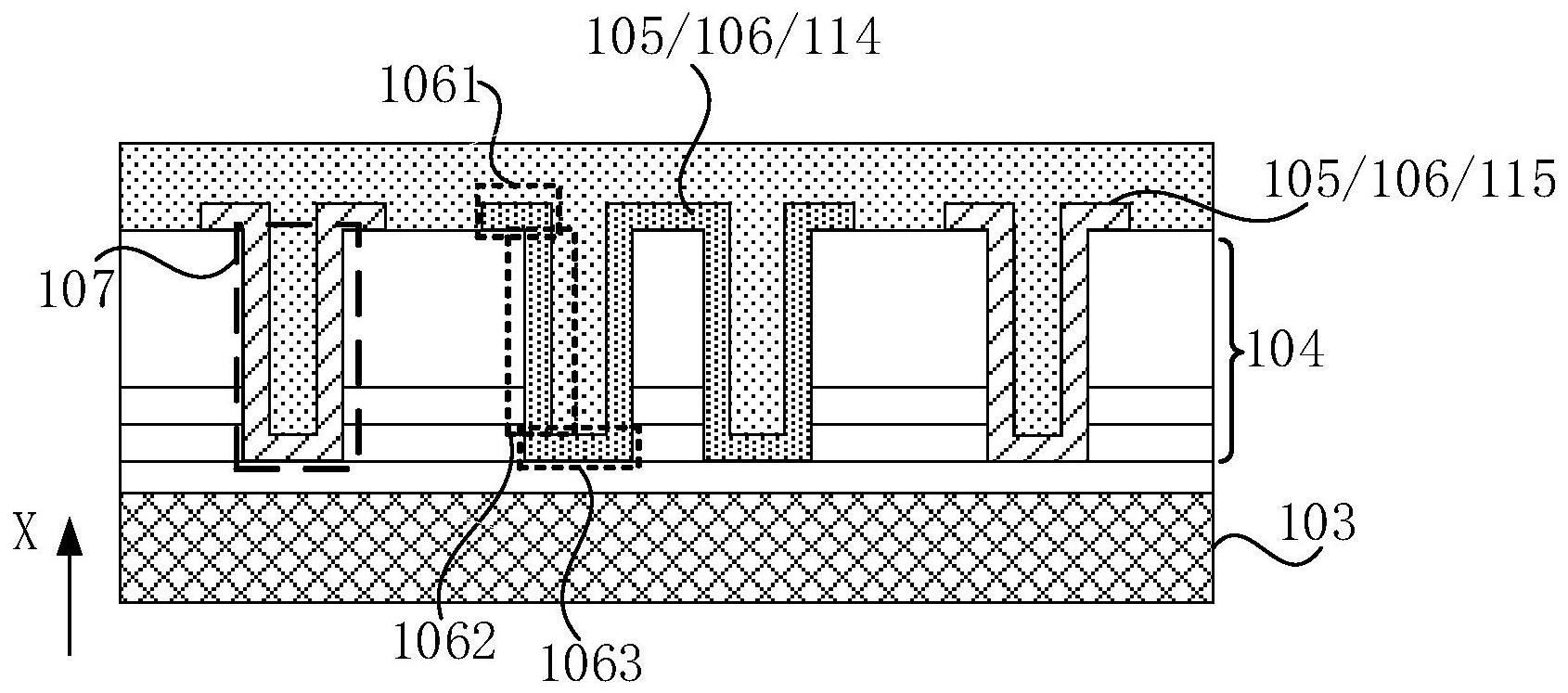
本发明公开了一种显示面板、制备方法及显示装置。显示面板包括显示区和位于显示区外围的非显示区,显示面板还包括衬底;复合介质层,位于衬底一侧,复合介质层包括至少部分贯穿复合介质层的第一过孔;导电层,至少部分导电层位于复合介质层远离衬底一侧,导电层包括电源信号线;非显示区内,沿显示面板的厚度方向,存在电源信号线与所述第一过孔至少部分交叠,且电源信号线至少部分覆盖第一过孔的底部和侧壁上。通过增加电源信号线的覆盖面积,有效降低电源信号线的电阻,增加显示面板的发光效果,同时可以有效降低显示面板的功耗。