未来苹果手表可能会拥有类似操纵杆的数字表冠

来源:cnBeta #手表# #苹果#
2.8w

苹果公司在周二获得美国专利商标局授予的一项名为“用于电子表的电容式间隙传感器环”的专利。这项专利显示,未来苹果手表的数字表冠可能会更加灵活,因为苹果提出了一种通过横向移动旋转表冠,将其变成操纵杆的简单方式。

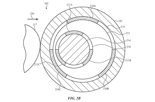
专利显示,数字表冠可以从沿多个方向移动的盖或杆上创建,并覆以2个表面上的电容元件,其中一个表面在另一个表面内旋转和移动,例如插槽或环内的轴。通过检测每个电容元件的电容变化,即元件接触的位置,可以确定内部元件相对于外部元件的物理位置。因此,这将告知设备用户将表冠按入哪个方向。

测量很大程度上与固定在位结构上的电容元件检测到的值有关,而与其他部分的旋转方向无关。可以采用某种形式的测量来检测中央部分的哪个元素与外部接触,从而检测接触时表冠是如何旋转的。使用多排电容元件还可以检测表冠压入智能手表的距离。基本上,这取决于它是否被压入,但是增加更多的电容环可以提供更细致的检测。

苹果在专利文件当中表示,与现有的不使用光标的苹果手表用户界面不同,可能存在由操纵杆操控的图形元素,如表冠的横向控制,垂直和水平运动转化为屏幕界面的相应调整。苹果每周都会提交许多专利申请,但不能保证苹果将来的产品或服务中会使用这些专利中包含的技术。

责编:
来源:cnBeta #手表# #苹果#
THE END
关闭
加载

PDF 加载中...