天眼查显示,苏州敏芯微电子技术股份有限公司近日取得一项名为“一种芯片封装结构”的专利,授权公告号为CN222159754U,授权公告日为2024年12月13日,申请日为2023年12月26日。

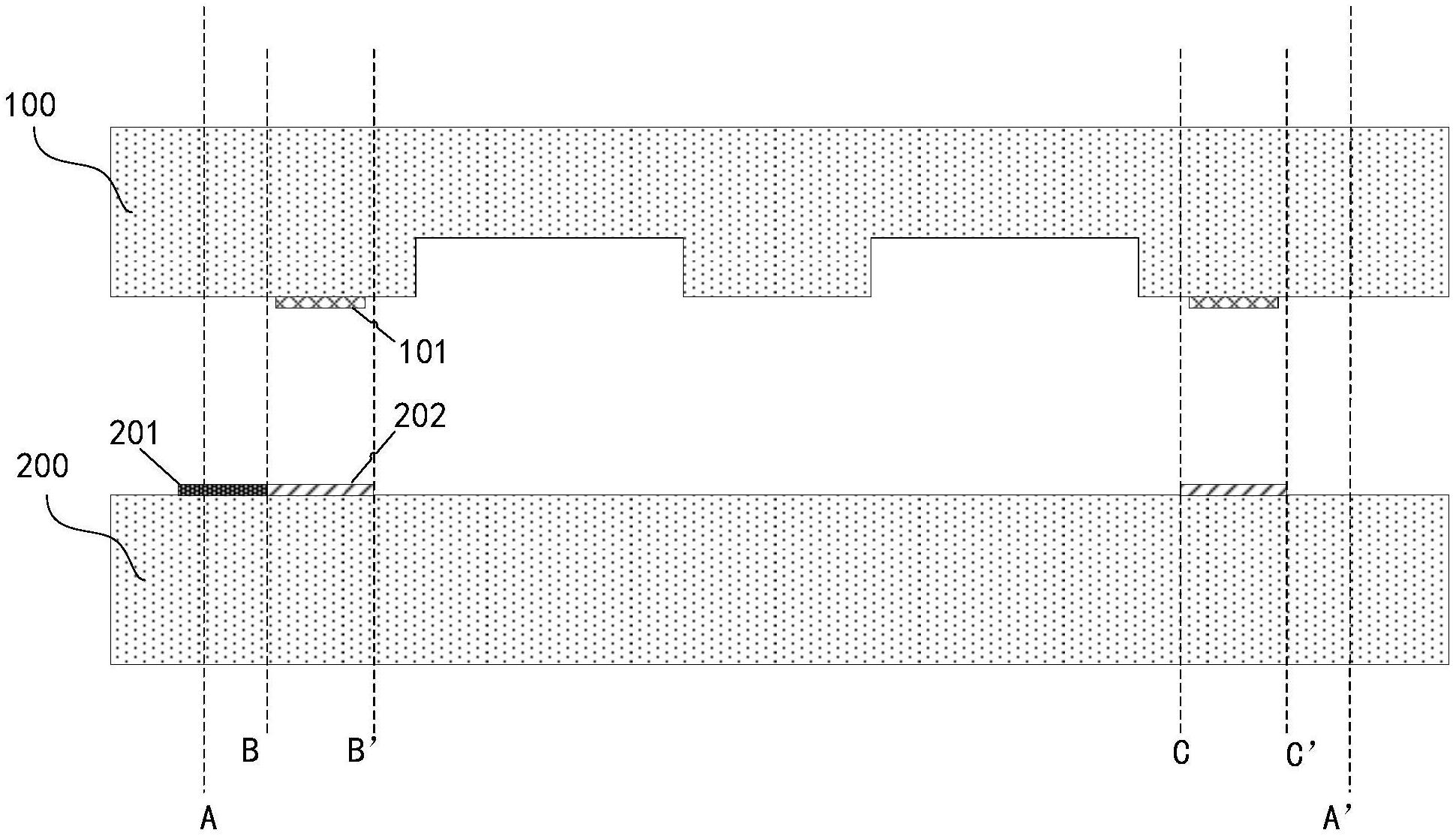
本实用新型提供了一种芯片封装结构,包括相对设置的衬底基板和MEMS芯片;其中,MEMS芯片靠近衬底基板的表面设置有第一金属体;衬底基板靠近MEMS芯片的表面设置有用于键合的键合区域和用于切割的切割道区域,其中,切割道区域环绕键合区域设置,在键合区域上设置有第二金属体,第一金属体与第二金属体相键合;在衬底基板上设置有引流结构,引流结构跨接于键合区域和切割道区域,且所述引流结构为金属材质,以将键合区域内多余的金属液体导出。本实用新型提供的芯片封装结构通过引流结构将键合区域内多余的金属液体引流至切割道区域,从而克服了金属键合过程中熔融金属溢流到芯片内部功能区的风险,提升了键合质量,并提高了MEMS芯片良率。