半导体行业结构性复苏,又一模拟厂商IPO进程提速

来源:爱集微 #模拟芯片# #上市公司分析#
1881

日前,中信证券发布《关于无锡市晶源微电子股份有限公司 首次公开发行股票并上市辅导工作进展情况报告(第八期)》,其中指出“本辅导期内,晶源微各项业务均正常开展,未出现重大变化”。上述信息不仅印证了晶源微经营基本面的稳健性,更从资本市场视角释放出积极信号。作为深耕模拟芯片领域的本土企业,无锡市晶源微电子股份有限公司(以下简称 “晶源微”)自启动IPO辅导以来,凭借在模拟芯片设计、工艺优化等方面的积累,持续夯实核心竞争力。

在当前全球半导体产业格局深度调整、国产模拟芯片替代进程加速推进的背景下,晶源微凭借成熟的技术团队、丰富的产品矩阵及稳定的客户合作体系,有望进一步扫清其登陆资本市场的潜在障碍。

图源:中信证券

 

国产替代+下游爆发,模拟行业机遇凸显

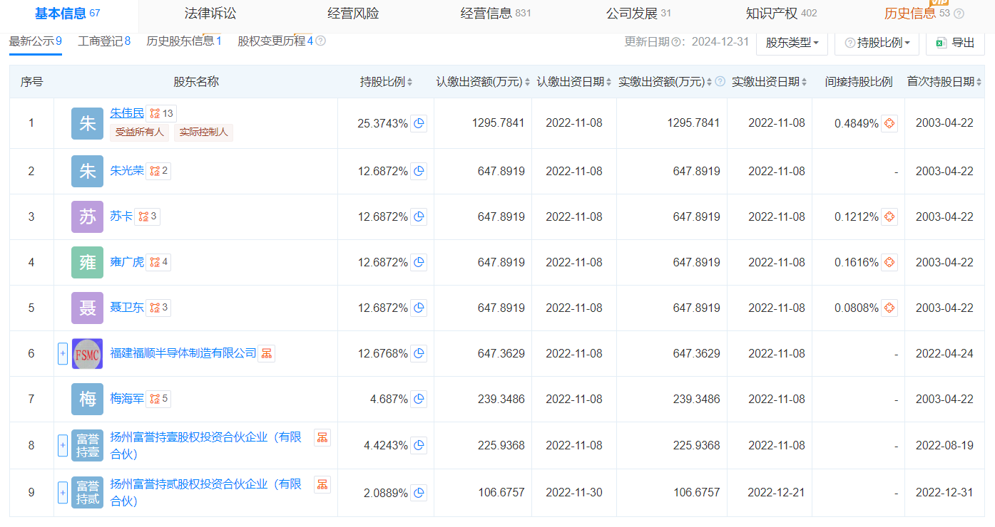
晶源微成立于2003年,从事高性能模拟和数模混合集成电路以及特种分立器件的设计、测试和销售的高新技术企业,产品类型包括电源管理芯片和信号链芯片,广泛应用于汽车电子、工业控制、消费电子和新能源等领域。天眼查显示,晶源微注册资本5,106.6757万人民币,法定代表人为朱伟民(董事长、总经理),其持股比例为25.37%。

图源:天眼查

目前,晶源微拥有一支经验丰富的研发团队(员工近200名,其中研发人员占比超70%),具备基于Bipolar、CMOS、BiCMOS、BCD多工艺平台的产品设计能力,产品类型包括电源管理芯片和信号链芯片,广泛应用于汽车电子、工业控制、消费电子和新能源等领域。据相关媒体报道,截至2023年10月,晶源微年销售额超过8亿元;研发投入达4800万元;年设计新品40余种。

2024年1月,晶源微开启资本化发展新阶段——中信证券与晶源微签署辅导协议,并正式向中国证券监督管理委员会江苏监管局报送辅导备案申请材料;11日,江苏证监局受理了晶源微的辅导备案。

在技术层面,晶源微具备差异化竞争优势,拥有电源管理电路、电机驱动、电子雾化电路、信号处理、接口电路、微控制器等产品,其多工艺覆盖能力使其能够根据不同应用场景的需求,灵活开发适配产品。相较于国内同类企业多聚焦单一工艺路线的布局,晶源微的多工艺平台可实现产品性能与成本的精准平衡,更好地满足汽车电子、工业控制等高端领域的严苛要求。

图源:晶源微官网

在市场层面,晶源微在多个细分领域实现国产领先。由于全球模拟芯片市场呈现寡头垄断格局,TI、ADI等国际巨头占据全球超90%市场份额。面对激烈竞争,晶源微避开通用型产品红海竞争,聚焦细分高端市场突破。在供应链与政策协同层面,晶源微还可受益于国产半导体产业链的完善与政策红利。

目前,全球模拟芯片市场呈现稳健增长态势。有数据预测,2025年全球模拟芯片市场规模将达825亿美元,中国市场占比超30%(约270亿美元)。全球模拟芯片市场规模2004—2024年的CAGR为4.77%,WSTS预计2025/2026年分别增长3.3%/5.1%至822/864亿美元。此外,2025年四季度,模拟芯片行业形成“量价齐升”的复苏格局,行业周期迎来根本性转折。

目前观察,晶源微仍面临多重行业共性挑战。在技术层面,与TI、ADI等国际巨头相比,其在高端产品领域仍存在差距。竞争层面,国内信号链芯片企业已形成差异化竞争态势,部分平台型企业覆盖全链路产品,一批专精特新企业则聚焦特定高端领域,晶源微需在多工艺平台优势基础上进一步强化细分市场龙头地位。此外,全球半导体供应链波动、高端晶圆制造产能紧张等外部因素也可能对其产生影响。

面对挑战,晶源微仍需厘清发展路径:持续加大研发投入,聚焦高端信号链芯片领域的技术攻关,尤其是汽车电子、工业控制领域的高性能产品;深化国产化协同,加强与本土晶圆厂、封装测试企业的合作,提升供应链稳定性与成本控制能力;借助资本化契机扩大产能与市场投入,优化客户结构,提升高端领域市场份额。


据集微网不完全统计,目前模拟芯片A股上市公司已有近40家,包括纳芯微、杰华特、南芯科技、芯海科技、思瑞浦、力芯微、艾为电子、帝奥微等为代表的一批头部模拟芯片公司。在度过筑底修复、降价去库存阶段后,我国模拟芯片市场正处于结构性恢复的黄金期,下游新能源、汽车电子等领域的需求爆发与国产化率提升形成双重红利。

作为模拟芯片领域的国产新锐,晶源微凭借多工艺平台技术优势、细分市场深耕策略及完善的知识产权体系,在国产替代进程中占据有利地位。尽管面临技术差距与规模瓶颈等挑战,但随着研发投入的持续加码、资本化进程的推进及国产化产业链的完善,晶源微仍有望成长为国内信号链芯片领域的核心供应商。

责编: 张轶群
来源:爱集微 #模拟芯片# #上市公司分析#
THE END

*此内容为集微网原创,著作权归集微网所有,爱集微,爱原创

关闭
加载

PDF 加载中...